Looking to understand how to wire your A/C compressor? You’re in the right place! Whether you’re a DIY enthusiast or just curious about how things work, this article will provide you with a clear and simple A/C compressor wiring diagram.
Understanding the wiring of your A/C compressor is essential for proper functioning and troubleshooting. By following the wiring diagram, you can easily identify and fix any issues that may arise with your A/C system.

Related Post 48V Club Car Battery Wiring Diagram 48 Volt
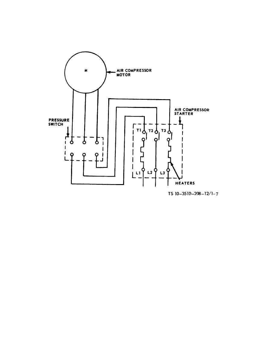
Start by identifying the power supply wires, which will usually be marked with L1 and L2. These wires provide the electrical power needed to run the compressor. Make sure to connect these wires to the corresponding terminals on the compressor.
Next, locate the wires that connect the compressor to the thermostat. These wires are responsible for regulating the temperature in your A/C system. Make sure to follow the wiring diagram carefully to ensure proper connection and functionality.
Once all the wires are properly connected, double-check your work to ensure everything is in place. It’s also a good idea to test the system to make sure the A/C compressor is running smoothly and efficiently.
By following a clear and concise A/C compressor wiring diagram, you can easily wire your A/C system with confidence. Remember to always prioritize safety and consult a professional if you’re unsure about any step in the process.
Now that you have a better understanding of how to wire your A/C compressor, you can enjoy a cool and comfortable home all year round. Don’t let a faulty wiring system ruin your comfort – follow the diagram and enjoy the benefits of a properly functioning A/C system!
Download and Print A C Compressor Wiring Diagram Listed below




