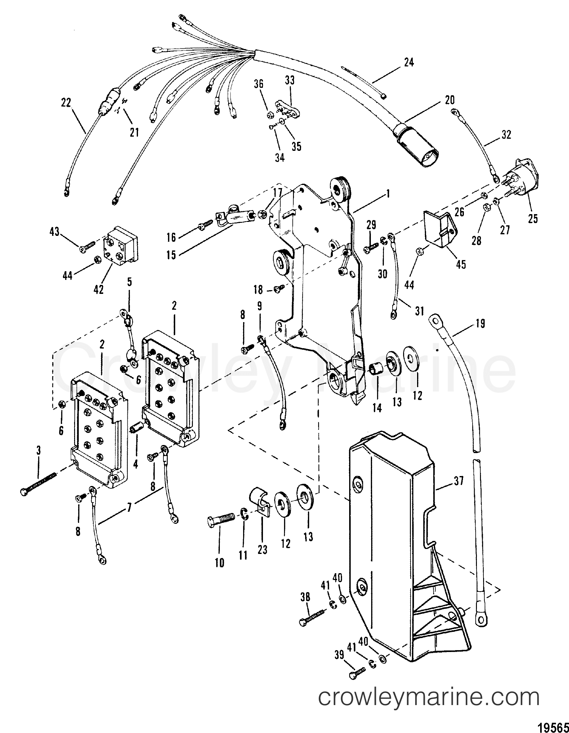
Are you looking for a Mercury outboard wiring harness diagram to help you with your boat’s electrical system? You’ve come to the right place! Understanding how the wiring harness works is crucial for maintaining and troubleshooting your outboard motor.
Whether you’re a seasoned boater or a beginner, having a clear diagram can make a world of difference when it comes to dealing with electrical issues on your boat. Let’s dive into the world of Mercury outboard wiring harness diagrams and see how they can help you.

Related Post Wiring Diagram Of Starter Motor
By referring to a Mercury outboard wiring harness diagram, you can easily identify the different wires and their connections, making it easier to troubleshoot any issues that may arise. Whether you’re dealing with a faulty ignition system or a malfunctioning fuel pump, having a clear diagram can save you time and money in the long run.
It’s always a good idea to familiarize yourself with your boat’s wiring system and keep a copy of the wiring harness diagram on hand for reference. This way, you’ll be better equipped to handle any electrical problems that may come your way while out on the water.
So, next time you’re in need of a Mercury outboard wiring harness diagram, don’t hesitate to look it up and use it as a valuable tool in maintaining your boat’s electrical system. With the right knowledge and resources at your disposal, you’ll be able to keep your boat running smoothly and enjoy many more adventures on the water.
Remember, a little bit of preparation and knowledge can go a long way when it comes to boating. Stay safe, stay informed, and happy boating!
Download and Print Mercury Outboard Wiring Harness Diagram Listed below




